近日,有国外媒体爆料,曾开发《命运》的游戏公司Activision在美国取得一项专利,专利内容为设计精密匹配机制以提升玩家氪金率,遭到玩家们诟病,但开发商表示仅为实验,并未将此实际使用到游戏之中。
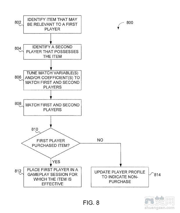
近日,有国外媒体爆料,曾开发《命运》的游戏公司Activision在美国取得一项专利,这并不奇怪,而当不少网友们得知专利内容后,可以说是纷纷炸锅了。这项专利名为“Matchmaking System and method for multiplayer video games”,专利主要是针对多人游戏重新设计了玩家配对的机制,经过系统结合等级、消费情况、好友等多方位因素的精密计算,分配玩家进入游戏。
专利说明书中还指出,通过这样的配对方式,能够影响玩家们的消费意愿,将新手玩家与高端玩家匹配,新手玩家可能会因为高端玩家武器优势,战绩更出色,而战胜购买武器、装备的欲望;将未购买DLC的玩家与购买DLC的玩家进行匹配,刺激消费。
这项专利目前还处于审核阶段,并未完全公开,Activison强调,这项专利只是实验性的,并没有实际运用到任何一款的游戏之中,包括大家熟知的《命运2》,大家怎么看?
更多游戏福利请前往:页游开服表
相关推荐
评论 ( 条 )
表情 最热评论
最新评论






